越客自定义字段报名系统使用介绍(二)
—— 会议信息管理与报名表单个性化设置
在日常活动或会议组织中,常常需要针对不同场景定制报名表单。
比如:家长志愿者报名、学生活动登记、企业会议参会表单……
每次都重新设计一份报名表既浪费时间,也不易统一管理。
为了让报名表更灵活、更智能,我们开发了「自定义字段报名系统」。
系统支持在线创建会议、设置报名时间、上传封面,并能灵活定制报名字段,实现真正的低代码化报名管理。
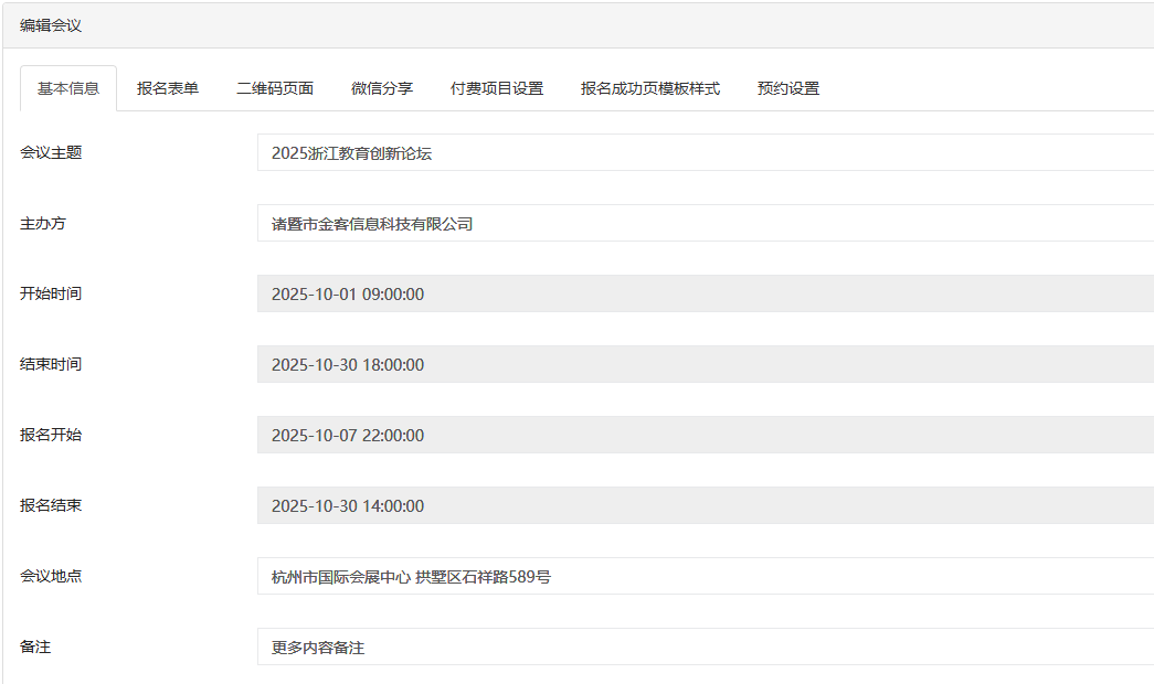
✨ 一、会议基本信息设置
会议基本信息页是每个活动的「主页配置中心」,在这里你可以快速定义一场会议的基础内容。


图1:会议基本信息设置界面整体图
可配置内容包括:
- 会议名称:自定义会议标题,如“家长志愿者培训会”。
- 会议封面图:上传会议海报或主题图片,用于前台展示。
- 会议时间与地点:选择会议开始、结束日期及地点。
- 报名时间范围:设置报名开放与截止时间,系统自动控制报名入口。
- 会议说明/介绍:支持富文本编辑,可插入图片、链接、列表等内容。
- 报名人数限制:可限制总报名人数或开启不限额模式。
- 状态开关:支持会议的启用/关闭,灵活控制前台是否可见。
💡 小提示:
如果会议暂未准备好发布,可以先保存为“草稿状态”,等信息确认后再开放报名。
🧩 二、报名表单字段设置
报名表单字段设置模块是系统的核心亮点,支持自定义报名项,满足各种复杂报名场景。

图3:报名字段列表界面
🎯 主要功能
- 添加自定义字段:支持文本框、下拉框、单选、多选、日期、文件上传等多种类型。
- 字段排序:拖拽即可调整显示顺序。
- 必填项设置:可自由勾选是否为必填字段。
- 选项内容编辑:对于单选/多选/下拉框类型,可直接输入多个选项。
- 默认值支持:可以设置字段初始值,方便重复报名时快速填写。
- 字段状态:支持字段启用/禁用、删除等操作。
🧠 应用示例
| 场景 | 字段示例 |
|---|---|
| 家长志愿报名 | 姓名、班级、联系方式、可值日时间段 |
| 企业培训报名 | 姓名、部门、职位、午餐需求、交通方式 |
| 活动报名 | 昵称、兴趣领域、T恤尺码、是否参与晚宴 |
通过灵活组合字段,管理员可以轻松创建出适配任何活动的报名表。
🔄 三、前台报名展示效果
前台报名页自动读取会议设置与表单字段,自动生成整洁、适配手机端的表单界面。
无论是 PC 端还是移动端,用户都能快速填写并提交报名信息。


图5:前台报名页面手机端展示图
提交后,系统将自动存储报名数据,管理员可在后台查看报名名单、导出 Excel、发送通知等。
⚙️ 四、系统优势总结
✅ 自定义灵活:不再受限于固定字段,可适配各种场景。
✅ 操作简单:可视化编辑,无需代码即可生成报名页。
✅ 数据统一管理:所有会议报名数据集中后台,便于统计导出。
✅ 移动端自适配:报名表单自动优化为手机端布局,填写更方便。
✅ 扩展性强:未来可继续对接签到系统、志愿者排班模块等功能。
📚 结语
通过「自定义字段报名系统」,你可以真正做到——
一套系统,多场活动,无限自定义。

图6:系统后台总览界面
如果你正在为活动报名管理烦恼,不妨试试这套系统。
它不仅节省时间,更能提升活动管理的专业度与效率。



